资讯
热点资讯
- 开yun体育网泓博医药、泰格医药、金凯生科等股跟涨-开云「中国」kaiyun体育网址-登录入口
- 欧洲杯体育不会导致公司控股推进、本色畛域东谈主发生变更-开云「中国」kaiyun体育网址-登录入口
- 开云体育(中国)官方网站902.52万股及预留授予部分831.284万股-开云「中国」kaiyun体育网址-登录入口
- 开云体育指甲上出现白点是缺钙的发达?-开云「中国」kaiyun体育网址-登录入口
- 开云(中国)kaiyun网页版登录入口2024年8月19日我会收到韦某联系投诉材料-开云「中国」kaiyun体育网址-登
- 开云(中国)kaiyun网页版登录入口替代东谈主类完成复杂使命-开云「中国」kaiyun体育网址-登录入口
- 体育游戏app平台浙江宁波罗蒙环球乐土一棵圣诞树短暂生气-开云「中国」kaiyun体育网址-登录入口
- 开云(中国)kaiyun网页版登录入口摊派交流、业务主干构成的“全程代办”军队-开云「中国」kaiyun体育网址-登录入
- 体育游戏app平台增长8.14%;客户进款总和4661.40亿元-开云「中国」kaiyun体育网址-登录入口
- 开云(中国)kaiyun网页版登录入口该公司的法东说念主代表为苏莹-开云「中国」kaiyun体育网址-登录入口
- 发布日期:2026-04-05 07:36 点击次数:183


作家 | 陈佳
裁剪 | 程茜
智东西3月30音书,昨日晚间,深圳IoT独角兽Aqara(绿米联创,下称绿米)认真递表港交所。

绿米确立于2009年,是小米生态链进攻玩家、国度级专精特新重心小巨东谈主企业。其业务涵盖绿米品牌空间智能产物及贬责决策的自有品牌以及为小米代工的ODM产物业务。该公司2021年9月D轮投后估值8.5亿好意思元(约合 58.84 亿元东谈主民币) 。
绿米所说的“空间智能”,所以传感器、核心和限度器为基础,通过斡旋的语义系统把“拓荒限度”升级为对“空间景象与场景”的举座感知、决策与自动践诺。
凭证弗若斯特沙利文数据,按2024年收入计,绿米是众人最大的中国空间智能基础设施提供商,在中国同类厂商中排行第一,众人市集份额1.5%,排行第七。

咫尺,该公司的众人用户超1500万,众人累计激活拓荒超5600万台。在生态兼容性方面,其也曾深化苹果、谷歌、小米、三星智能家居生态。收尾2025年底,绿米已有跨越340款产物接入苹果生态。

绿米与小米的干系密切。2022年至2025年,小米是绿米的最大客户,近三年来自小米的最大收入占比均跨越32%。该公司总裁林震曾是小米高管。
在股权架构中,小米执股7.92%、好意思的执股约1.02%、中国电信旗下天翼本钱执股约2.97%。
本次IPO召募所得款项将按以下比例分派:最大比例用于研发参加,以不绝擢升产物质能及空间智能应用场景的技艺智商;其次用于扩大销售渠谈及擢升品牌知名度;其余部分用于补充营运资金及一般企业用途。
一、三年营收看守在15亿元限度,毛利率高潮,欧洲是最大外洋市集
2023年至2025年,绿米的总收入分歧为14.39亿元、14.89亿元和14.72亿元,录得净利润分歧为-1.59亿元,-2.31亿元,-3.22亿元,招股书清楚,咫尺亏本主要系可转念可赎回优先股公允价值变动所致。
研发参加方面,该公司三年的参加分歧为1.73亿元、1.83亿元、2.34亿元,占收入的比例为12.0%、12.3%、15.9%。

绿米营收、净利润、研发支拨变化(智东西制图)
咫尺,绿米的主要业务包括Aqara品牌空间智能产物及贬责决策和ODM产物。其中Aqara品牌空间智能产物及贬责决策的收入从8.99亿元增至9.47亿元,占总收入的比例从62.6%升至64.3%。该自有品牌由三类硬件组成,分歧是传感器、核心和限度器。
2025年绿米销售传感器所产生的收入为3.08亿元,在绿米品牌三类硬件中增速最快,两年内从17.8%的收入占比升至20.9%。核心2025年收入1.13亿元,体量在三类硬件中最小。限度器2025年收入5.25亿元,是绿米品牌三类硬件中收入最大的,不外占比已从2023年的39.1%降到35.7%。
2023年至2025年ODM业务收入分歧为5.19亿元、5.43亿元和4.97亿元,占总收入的33%至37%,是总收入中体量第二的板块,仅次于绿米品牌空间智能产物及贬责决策。

绿米的毛利率水平,2023年至2025年,其举座毛利率分歧为29.7%、33.8%、38.4%,三年累计擢升近9个百分点。

咫尺,该公司研发团队460东谈主,占公司职工总和48.9%。收尾2025年底,其执有1262项已授权专利及549项待审专利。
从地区收入来看,绿米外洋业务是主要收入增长着手,以绿米品牌空间智能产物及贬责决策计,2023年至2025年间中国内地收入从5.20亿元降至3.18亿元;外洋收入从3.80亿元增至6.29亿元,占比从42.2%升至66.5%。

二、三大硬件品类加一套操作系统,与苹果生态兼容造成互异化上风
绿米的业务着手有两类:自有品牌以及为其他公司代工。
自有品牌是Aqara品牌空间智能产物及贬责决策,产物体系由三类硬件组成,围绕空间中的感知、决策与践诺张开。绿米将三类硬件对应为不同功能扮装,传感器承担“识别与感知”,核心负责“瓦解与决策”,限度器完成“践诺与重塑”,绿米应用方法(Aqara App)则在三类硬件基础上竣事斡旋调节与协同。
收尾2025年12月31日,绿米的产物矩阵涵盖50余个品类、逾2200个SKU,众人累计激活拓荒跨越5600万台,Aqara App用户平均纠合拓荒数目为20.02台。

绿米产物品类(图源:Aqara官网)
传感器是感知层,主要产物包括AI高精度场景传感器、智能录像机、就寝监测带、门窗传感器、东谈主体传感器、温湿度传感器、烟雾报警器等。传感器的一个要津目标是超低功耗,约为同类产物的三分之一,以此雷同数年事别的电板续航。

绿米产物图(图源:Aqara官网)
核心是通盘系统的土产货算力节点,产物主淌若智能网关和智能屏,负责融合拓荒间联动、保险低延长反应,以及在断网景象下看守土产货自动化动手。
限度器是践诺层,包括智能开关及插座、灯控模组与灯具、智能门锁、窗帘电机、温控器等。
绿米一边作念自有品牌产物,一边也给其他公司作念产物,也即是ODM业务,主淌若为小米开发坐褥定制产物。ODM客户(主淌若小米)领有这些产物在整个渠谈和地区的独家销售权。
与苹果智能家居生态的整合是绿米外洋市集的进攻互异化上风。收尾2025年底,绿米有15个产物品类下逾340款型号接入Apple Home,原生因循HomeKit安全视频、自稳当照明、自稳当温度及Home Key等苹果专属功能,在苹果零卖店粉饰18个国度及地区的逾30款产物。
2022年1月,绿米推出众人首款因循Apple Home Key的智能门锁;2026年CES上推出的智能门锁U400,是市集上首款因循通过UWB技艺竣事Apple拓荒免提解锁的门锁。

Aqara App(图源:Aqara官网)
绿米在技艺层面作念的事,执行上是在传感器、核心和限度器这套硬件之上,建了一个斡旋的软件语义层。这套架构的核心意见叫ORAP执行论框架,将空间里的对象、干系、看成和政策空洞为机器可会通的语义模子,再通过“空间图谱”在拓荒层、边际层和云表之间同步留神一份对于空间景象的及时数据。
这么作念的目标是让系统不再以单台拓荒为操作单元,而所以“房间”“区域”“场景”这类空间意见来会通和调节。建在这层语义之上的是遥测机制,执续采集从意图到践诺再到效果的竣工交互数据,使系统概况随时辰自我优化。合同兼容方面,该公司通过智商映射将Zigbee、Wi-Fi、Matter、KNX、BACnet、Modbus等多种顺次斡旋归入上述语义模子,这么表层逻辑无需感知底层合同互异,跨生态系统的拓荒调节得以在归拢框架内完成。
绿米的核心技艺麇集在四个方面:
“识别与感知”会通了毫米波雷达、野心思视觉与散布式传感器会聚,概况在土产货处理完成东谈主体行径识别与生命体征监测,不上传原始数据。
“瓦解与决策”强调边际侧及时推理,通过当然谈话处理桥接用户意图与拓荒践诺,延长在毫秒级。
“践诺与重塑”贬责的是如安在不编削传统建筑电气系统的前提下接入智能限度,并用散布式容灾架构保证在云表或核心断线时依然能土产货践诺自动化。
“纠合与会通”则是对ZigBee、Wi-Fi、Matter、KNX、BACnet、OPC UA、Modbus等十余种合同的斡旋接入智商。

绿米空间智能暗意图
三、小米连气儿三年孝敬逾三成收入,有依赖单一客户风险
小米是绿米的单一最大客户,2023年至2025年,绿米来自小米的收入分歧为4.716亿元、5.015亿元和4.770亿元,占已往总收入的32.8%、33.7%和32.4%,三年来这个比例确切莫得变化。2023年至2025年,绿米来自五大客户的总共收入分歧为6.150亿元、6.291亿元和5.715亿元,占总收入的42.7%、42.3%和38.9%,2025年略有下落,主淌若第二至第五大客户收入缩减。
除小米(客户A)外,五大客户的组成每年王人有所变动,且客户限度与小米差距悬殊。客户B是绿米在韩国的经销商Aqara Life,绿米执有该公司19.5%的少数股权,因此招股书将其与小米沿路抹杀在“闲隙第三方”的声明除外,这两家组成五大客户里的非闲隙第三方。
绿米来自客户B的2023年至2025年收入分歧为5576万元、5471万元和4274万元,占总收入不及4%,且不才降。
2025年绿米的第三至第五名客户分歧是:客户G,一家俄罗斯经销商(1900万元,占比1.3%);客户H,一家国内专注数字经济和算力处事的高新技艺企业(1714万元,占比1.2%);以及客户I,一家中国主要线上零卖平台运营商(1568万元,占比1.1%)。

2023年至2025年,绿米前五大供应商总共采购额分歧占总采购额的21.7%、19.9%和19.3%,最大单一供应商的占比则从7.3%降至4.9%。
小米同样出当今绿米的供应商名单里,向绿米提供集成电路、模组和适配器,2023年至2025年采购额分歧占总采购额的2.8%、3.8%和4.9%,金额从3040万元升至5023万元。
其他进入前五的供应商多为OEM代工融合伙伴:2023年最大供应商是一家坐褥机灵屏及智能硬件的OEM厂商,2024年换为一家坐褥门锁的OEM企业;此外还有专注于窗帘电机的OEM商、烟雾探伤器制造商、空调配件厂商以及录像机制造商,不同庚份交替收支前五,供应品类与绿米产物线对应。

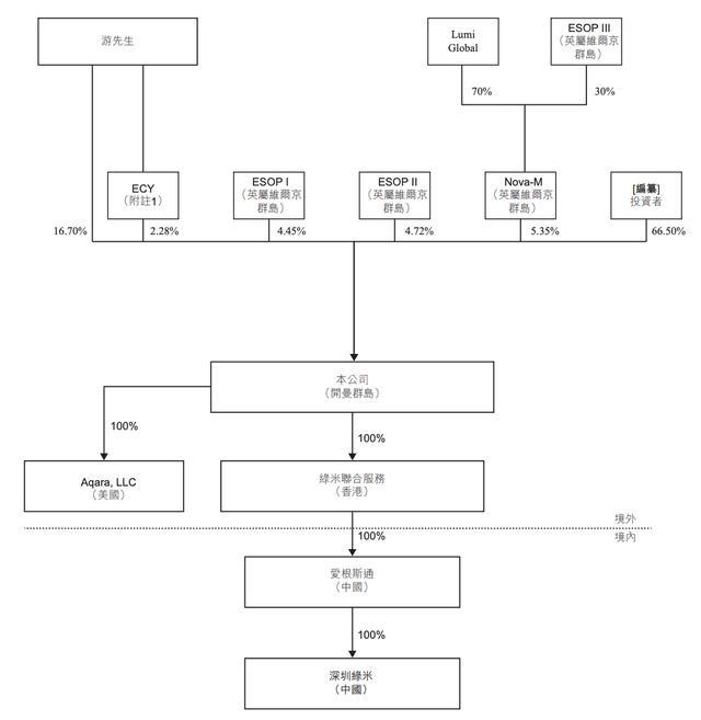
四、首创东谈主眷属保执限度权,小米、好意思的、中国电信均执股
2009年学自动化降生的游延筠创立了主营机灵楼宇业务的绿拓科技,这家公司恰是绿米的前身。2014年入局小米生态链后,该公司认真更名为绿米,开启了在智能家居边界的探索。

绿米首创东谈主游延筠(图源:百度百科)
股权结构上,游延筠通过本东谈主平直执股、ECY Investments LLC执股,以及与愉悦本钱缔结的投票递延合同,在上市前总共可愚弄约39.27%的投票权,是该公司单一最大股东集团。他儿子游晨希执有ECY Investments的经济权利但不执有投票权,游晨希本东谈主同期以践诺董事身份负责公司外洋业务。
从股东名单看,产业方和财务投资者均有触及。产业方中,小米集团通过Red Better Limited执股7.92%,是绿米最早的天神投资者之一,2015年即以约1190万好意思元参与天神轮及A轮投资;好意思的集团通过Mecca International (BVI) Limited执股 1.52%;法国电器集团SEB 通过 SEB Alliance执股约1.02%;中国电信旗下天翼本钱执股约2.97%。
财务投资方中,体量最大的是愉悦本钱(Joy Capital),执股8.35%;顺为本钱执股8.37%,同为天神轮投资者,与小米渊源深厚;远东宏信执股约8.92%;凯辉转换基金(Cathay Innovation,中法结伴)执股约7.17%;高榕本钱执股约1.13%。

绿米的董事会由九名成员组成:四名践诺董事、两名非践诺董事、三名闲隙非践诺董事。
践诺董事方面,林震博士担任副主席兼总裁,他此前是小米电子产物副总裁,后转任东方明珠高档副总裁,2021年加入绿米;孔丽负责研发,曾任快手可衣服产物模式负责东谈主;游晨希负责外洋销售,领有哈佛商学院MBA学位,加入绿米前曾在好意思国三星、摩根大通和花旗任职。

绿米副董事长、总司理林震(图源:Aqara)

两名非践诺董事中,杨俊来自远翼投资,是远东宏信系的投资代表;蒋文来自小米集团,咫尺在小米负责生态圈融合管束,从2022年起担任绿米董事,任期内执续代表小米在董事会中的利益。
三名闲隙非践诺董事于2026年3月26日才获委任,均为本次上市前新引入:江天宇有投资银行和AI科技公司配景,沈楠此前在高途评释担任CFO,钟雪垠有本钱市集法律配景,曾协助逾20家企业完成好意思港两地上市。
结语:收入结构执续赞成,空间智能赛谈竞争加重
从近三年的计划数据来看,绿米在收入限度基本清醒的情况下,主动压缩ODM业务占比,将资源进一步麇集到自有品牌产物与贬责决策上,这一政策带动了毛利率执续擢升,也使其业务结构愈加聚焦。同期,该公司执续加大研发参加、推行研发团队,并通过专利积蓄强化技艺壁垒,在硬件与系统智商上继续完善,舒缓造成以传感器、核心和限度器为核心的产物体系。
放在更大的行业配景中,智能家居正从“单品互联”向“空间智能”阶段演进,厂商竞争也从硬件限度转向系统智商、生态兼容与场景落地智商。跟着Matter等顺次鼓吹、苹果等生态执续洞开欧洲杯体育,以及外洋市集需求增长,具备跨合同整合智商和系统化产物智商的厂商将得到更多契机。在这一历程中,绿米场合的空间智能基础设施赛谈仍处于推广期,市集参与者继续增多,围绕平台智商、品牌瓦解和渠谈确立的竞争也将进一步加重。
